| Status | Description | Figures | Further Information |
|---|---|---|---|
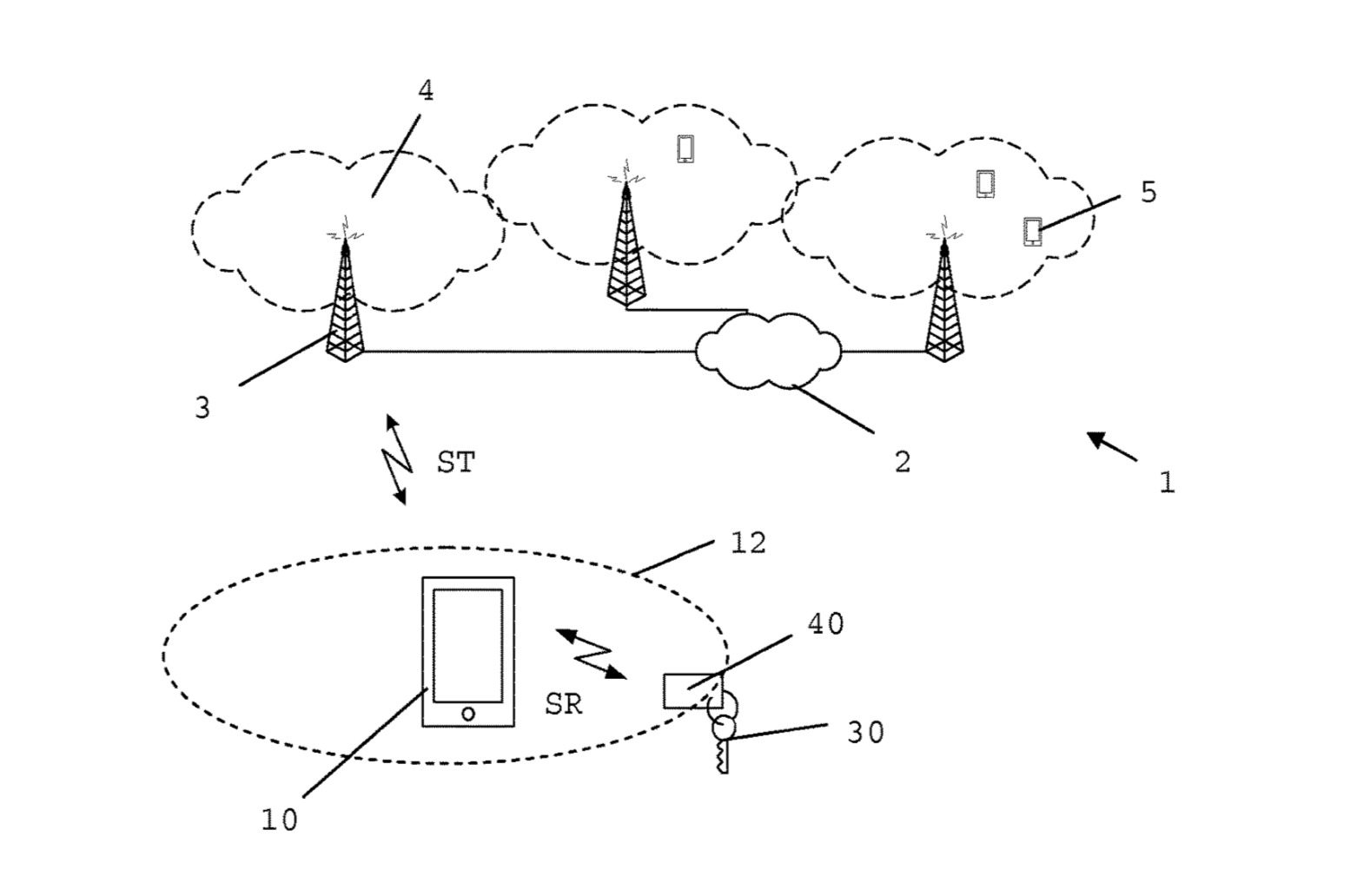
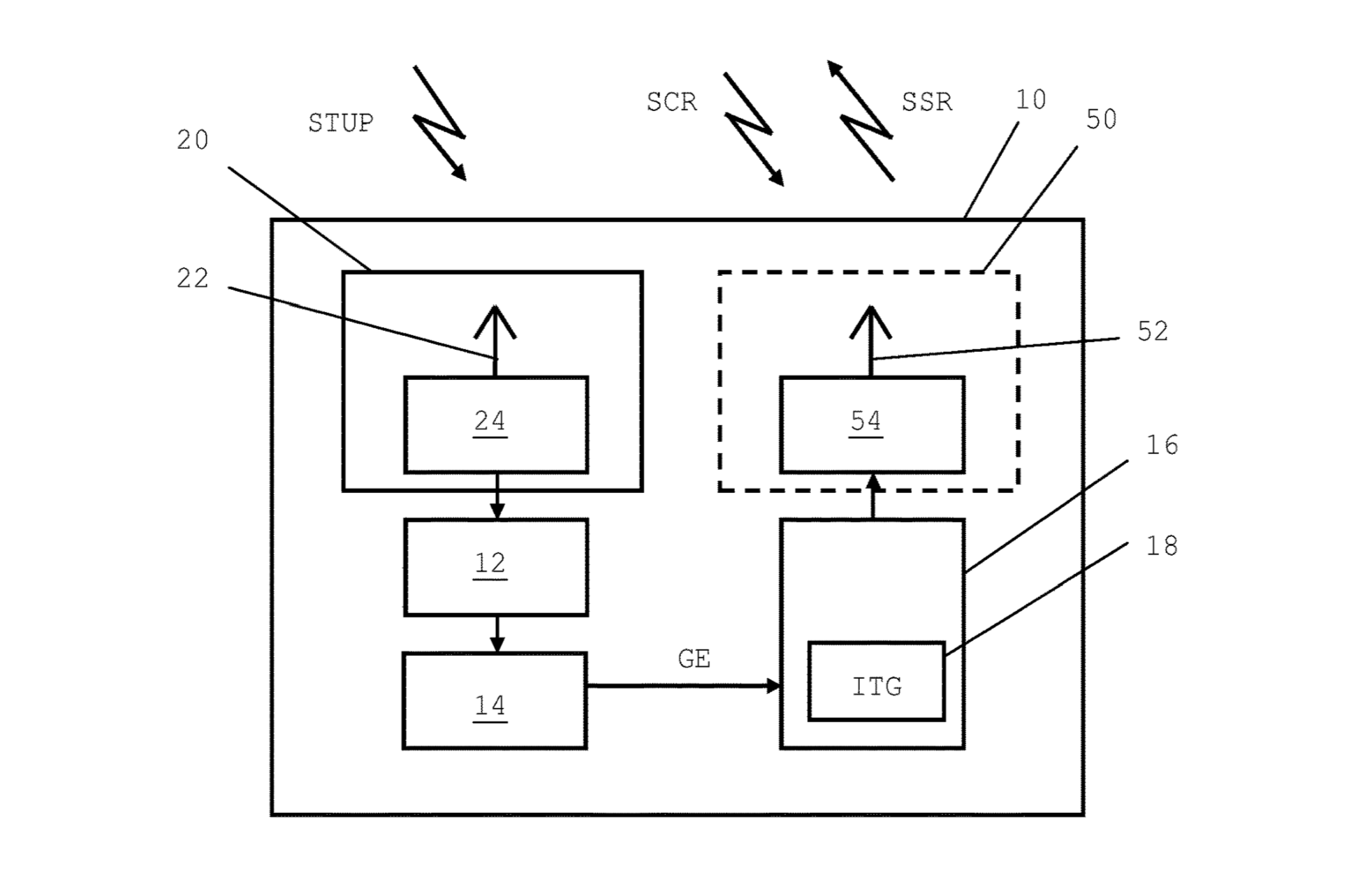
| Patents for Sale/License | Method of operating an RFID-enabled mobile telephone, mobile telephone, remote unit and application program product RFID-enabled Mobile Telephone for quickly and conveniently checking the nearby presence of correspondingly tagged portable objects (keys, medicine box etc.), e.g. before leaving home or office, and a wristwatch for remotely controlling such a telephone |
![]() |
|
| Patents for Sale/License | Transponder tag that is operable by a mobile telephone, portable object, mobile telephone, and corresponding methods Transponder Tag for receiving wireless signals at a frequency of a local wireless network (ISM radioband), configured to use the energy of these signals for transmitting tag information to a mobile telephone via a short-range RFID connection. This is particularly useful for numerous short distance applications, e.g. for obtaining a quick confirmation that all needed personnel belongings (keys, medical box etc.) are "on board" when leaving home/office. |
![]() |